Вернуться   Архангельский клуб владельцев и любителей автомобиля Шевроле Нива > Технические разделы > Своими руками

Своими руками Обсуждение как и чего можно сделать самому.


Ответ
 
Опции темы Опции просмотра
Старый 04.05.2011, 22:56   #1
Windy
Администратор
 
Аватар для Windy
 
Регистрация: 20.03.2009
Имя: Валентин
Адрес: Архангельск
Сообщений: 4,887
Изображений: 386
Вес репутации: 126
Репутация: 1646
Дневные ходовые огни (ДХО) на ШНиву своими руками

В свете последних веяний ПДД реализовал у себя на Фьюжене схему включения ближнего света фар вместе с пуском двигателя, без включения габаритов, нажатия каких-либо кнопок и переключателей, т.е. АВТОМАТИЧЕСКИ Это так называемые "Дневные ходовые огни" (ДХО). Причем, изначально ставил задачу не "колхозить" дополнительных осветительных приборов, а реализовать штатно применяемые на иномарках схемы ДХО с использованием родного светотехнического оборудования.
Сейчас вполне доволен: двигатель запущен, ближний свет горит автоматически, габариты не горят, подсветка приборов тоже. Габариты включаю, ближний гаснет, и дальше все работает по обычной схеме.
Плюсы:
- никогда не забудешь включить ближний свет (штраф 100 руб).
- постоянно горит только ближний свет, габариты не горят, патроны не плавят, подсветка приборов не горит.
Минусов не замечено.
Реализация ДХО для ШНивы (по материалам www.chevy-niva.ru):

Управляемый ручником ДХО на ближнем свете фар.



К – любое нормально-замкнутое реле, можно малогабаритное до трех ампер.
Д – диоды 1N4007 (1А 1000в)
Ш- разъем монтажного блока, первая цифра- номер разъема, вторая – номер контакта в разъеме.
Х1 – белый разъем приборного щитка.
Суть доработки : ставится дополнительное реле, которое будет включать штатное реле ближнего света фар К4. При включении зажигания двигатель не работает, через диод Д2 реле К(нз) включится и фары ближнего света гореть не будут. На заведенном двигателе на датчике давления масла массы не будет (его контакты размыкаются) и реле выключится, фары ближнего света загорятся. Если при работающем двигателе поднять ручник, реле К включится, его контакты разомкнутся и фары потухнут. Включение габаритов не влияет на работу этой схемы, но и схема не нарушает работу штатных кнопок. ГАБАРИТЫ ВЫКЛЮЧЕНЫ :
1.включено зажигание, двигатель не работает – фары не горят.
2.двигатель работает, ручник поднят – фары не горят.
3.двигатель работает, ручник опущен – фары ГОРЯТ.

ГАБАРИТЫ ВКЛЮЧЕНЫ, кнопка «Ближний свет» не нажата :
1.двигатель работает, ручник опущен – фары ГОРЯТ.
2.двигатель работает, ручник поднят – фары не горят.
При включенных габаритах и нажатой кнопке «Ближний свет» ручник никак не влияет на работу ближнего света фар.
Справка.
Если двигатель работает, ручник опущен, габариты выключены и фары ближнего света фар почему-то не горят. Это плохо. Либо действительно нет давления масла в двигателе, либо проблемы с датчиком давления масла.
__________________
Сейчас: Nissan
Были: ШН Снежка, 2004 г.в., Форд Фьюжен, 2005 г.в., SsangYong Kyron, дизель, РКПП, 2013 г.в.
ШНГ - повезет, так повезет!
Главное - не размер джипа, а умение им пользоваться
Windy вне форума   Профиль Windy Послать Windy личное сообщение Найти сообщения Windy Страничка Windy Ответить с цитированием
Старый 04.05.2011, 23:30   #2
_Den_
Администратор
 
Аватар для _Den_
 
Регистрация: 27.03.2009
Имя: Denis
Адрес: Архангельск
Возраст: 47
Авто: MMC Outlander XL
Сообщений: 3,739
Изображений: 17
Вес репутации: 132
Репутация: 3325
Re: Дневные ходовые огни (ДХО) на ШНиву своими руками

У меня автосвет и евросвет. На улице темно - свет горит. Еду быстрее 15 км/ч - свет горит. А за реализацию +
__________________
Застрянем там, куда другие не доедут
_Den_ вне форума   Профиль _Den_ Послать _Den_ личное сообщение Найти сообщения _Den_ Ответить с цитированием
Старый 04.05.2011, 23:31   #3
Roman
Живёт тут
 
Аватар для Roman
 
Регистрация: 25.06.2010
Имя: Роман
Адрес: Архангельск
Авто: ШН Снежка 2008. Была: ШН Снежка 2004.
Сообщений: 1,018
Изображений: 78
Вес репутации: 88
Репутация: 2133
Re: Дневные ходовые огни (ДХО) на ШНиву своими руками

Напрягало ездить с ближним. Лампы "темнеют". Да и круглосуточные 2 по 55 ватт. И не по канонам дневных огней они светят...

Вставит в птф светодиоды (2 по 5 ватт). Результат лучше чем я ожидал. Использую такой вариант в качестве ДХО.
Всем требованиям соответствуют.
Миниатюры
Нажмите на изображение для увеличения
Название: z_d8184820.jpg
Просмотров: 38552
Размер:	226.0 Кб
ID:	2531  
Roman вне форума   Профиль Roman Послать Roman личное сообщение Найти сообщения Roman Страничка Roman Ответить с цитированием
Старый 05.05.2011, 09:22   #4
Neverhood
Администратор
 
Аватар для Neverhood
 
Регистрация: 20.03.2009
Имя: Дима
Адрес: Архангельск
Сообщений: 4,658
Изображений: 118
Вес репутации: 132
Репутация: 2481
Re: Дневные ходовые огни (ДХО) на ШНиву своими руками

а как же петуш-ленты светодиодные? Промышленность такие разные варианты выпускает! Валентин, за реализацию - 5! а за лампы - 2. Не экономно лампов свет тратить. 110 вт всё таки светят. А у тебя на фьюжике ещё и лампа 2-х нитивая. Дороже и обиднее если перегорят. У Роман Сергеевича более подходящая конструкция для ДХО. Осталось соединить Валентина схему с Роминымы ДХО
__________________


[email protected]
Neverhood вне форума   Профиль Neverhood Послать Neverhood личное сообщение Найти сообщения Neverhood Ответить с цитированием
Старый 05.05.2011, 13:20   #5
Windy
Администратор
 
Аватар для Windy
 
Регистрация: 20.03.2009
Имя: Валентин
Адрес: Архангельск
Сообщений: 4,887
Изображений: 386
Вес репутации: 126
Репутация: 1646
Re: Дневные ходовые огни (ДХО) на ШНиву своими руками

Цитата:
Сообщение от Neverhood Посмотреть сообщение
Дороже и обиднее если перегорят

На счет дороже можно и поспорить - в противотуманку лампочки тоже по-разному стоят, ну и менять лампочку в туманке то еще удовольствие, а в блок фаре гораздо удобнее. Именно поэтому, я вариант с туманками даже не рассматривал И у Романа, судя по фото, еще и габариты горят, а на ШНиве это чревато оплавленными патронами и еще большим удовольствием.
И не забывайте, что свет в светлое время суток нужен не Вам и ГИБДД, а другим участникам движения, чтобы автомобиль было лучше/раньше видно. А как светят светодиоды рассказывать никому не нужно - никак.

Цитата:
Сообщение от Neverhood Посмотреть сообщение
Осталось соединить Валентина схему с Роминымы ДХО

Всё уже придумано до нас:

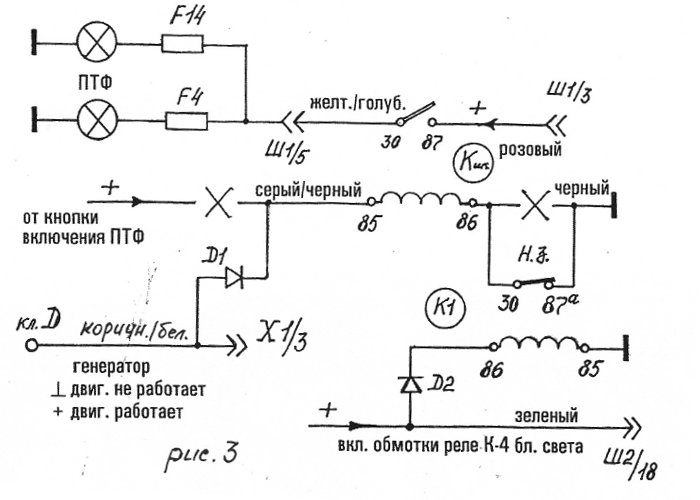
ДХО НА ПРОТИВОТУМАННЫХ ФАРАХ



К шт –штатное реле включения ПТФ , находится под монтажным блоком.
К1 – новое нормально-замкнутое реле, можно и маломощное до 3А.
Д – диоды 1N4007 (1А 1000в
Ш-разъем монтажного блока, первая цифра – номер разъема, вторая – номер контакта в раъеме.
Х1 – белый разъем приборного щитка.

Суть доработки : нужно найти реле включения ПТФ , откусить управляющий плюс от кнопки включения ПТФ , это провод серый\черный. И переключить управление по плюсу через диод на коричн.\белый провод кл.Д генератора. Порвать провод массы с реле и подключить контакты вновь установленного реле, это будет управление по минусу.

На заведенном двигателе плюс 12в через диод Д1 включит штатное реле ПТФ и противотуманные фары загорятся. При включении ближнего света фар плюс через диод Д2 включит реле К1 (нз). Его контакты разомкнутся и фары ПТФ потухнут. При выключении ближнего света фар контакты реле К1 (нз) замкнутся и ПТФ включатся. Данная схема позволяет использовать ПТФ в качестве дневных ходовых огней.
1.зажигание включено, двигатель не работает – ПТФ не горят.
2. двигатель работает – ПТФ ГОРЯТ.
3. двигатель работает, включен ближний свет фар – ПТФ не горят.
Включение, выключение габаритов не влияет на работу ПТФ . Противотуманные фары горят только на заведенном двигателе без нажатия каких-либо кнопок и не горят при включении ближнего света фар
Миниатюры
Нажмите на изображение для увеличения
Название: dho03_3.jpg
Просмотров: 95239
Размер:	44.2 Кб
ID:	2536  
__________________
Сейчас: Nissan
Были: ШН Снежка, 2004 г.в., Форд Фьюжен, 2005 г.в., SsangYong Kyron, дизель, РКПП, 2013 г.в.
ШНГ - повезет, так повезет!
Главное - не размер джипа, а умение им пользоваться
Windy вне форума   Профиль Windy Послать Windy личное сообщение Найти сообщения Windy Страничка Windy Ответить с цитированием
Старый 05.05.2011, 14:13   #6
SAN 296
Гуру
 
Аватар для SAN 296
 
Регистрация: 25.09.2010
Имя: Александр
Адрес: Архангельск
Возраст: 53
Авто: Шеви Нива 2006г.
Сообщений: 547
Изображений: 42
Вес репутации: 62
Репутация: 150
Re: Дневные ходовые огни (ДХО) на ШНиву своими руками

Цитата:
Сообщение от Neverhood Посмотреть сообщение
а как же петуш-ленты светодиодные? Промышленность такие разные варианты выпускает! Валентин, за реализацию - 5! а за лампы - 2. Не экономно лампов свет тратить. 110 вт всё таки светят. А у тебя на фьюжике ещё и лампа 2-х нитивая. Дороже и обиднее если перегорят. У Роман Сергеевича более подходящая конструкция для ДХО. Осталось соединить Валентина схему с Роминымы ДХО

Я так тоже думаю,надо до минимума снизить нагрузку на генератор.

Последний раз редактировалось SAN 296; 06.05.2011 в 08:46.
SAN 296 вне форума   Профиль SAN 296 Послать SAN 296 личное сообщение Найти сообщения SAN 296 Ответить с цитированием
Старый 05.05.2011, 13:48   #7
Roman
Живёт тут
 
Аватар для Roman
 
Регистрация: 25.06.2010
Имя: Роман
Адрес: Архангельск
Авто: ШН Снежка 2008. Была: ШН Снежка 2004.
Сообщений: 1,018
Изображений: 78
Вес репутации: 88
Репутация: 2133
Re: Дневные ходовые огни (ДХО) на ШНиву своими руками

Хотел было возразить что габариты я включаю не для правил и не для ДХО, а чтоб виднее машину было.... а потом вспомнил что без них ПТФ не зажгутся. (но при желании можно отвязать)
В автошколе меня так научили - что всегда с габаритами.

Ну а то что плавится плафон - дак габаритную тоже менять на светодиодную надо. Вне зависимотси от того когда и как часто вы её используете.

Видел как в ПТФки всталяют кольца со светодиодами, ленты... И выводят на отдельную кнопку.
Roman вне форума   Профиль Roman Послать Roman личное сообщение Найти сообщения Roman Страничка Roman Ответить с цитированием
Старый 05.05.2011, 14:53   #8
Костя
Живёт тут
 
Аватар для Костя
 
Регистрация: 22.06.2009
Имя: Костя
Адрес: Западное Мурино
Возраст: 45
Авто: 11173, метро))
Сообщений: 4,890
Вес репутации: 127
Репутация: 1889
Re: Дневные ходовые огни (ДХО) на ШНиву своими руками

Цитата:
Сообщение от Roman Посмотреть сообщение
Хотел было возразить что габариты я включаю не для правил и не для ДХО, а чтоб виднее машину было.... а потом вспомнил что без них ПТФ не зажгутся. (но при желании можно отвязать)
В автошколе меня так научили - что всегда с габаритами.

Я переделал, птф включаются отдельно от всего.
Костя вне форума   Профиль Костя Послать Костя личное сообщение Найти сообщения Костя Ответить с цитированием
Старый 31.08.2011, 14:37   #9
Винипух
Гуру
 
Аватар для Винипух
 
Регистрация: 30.01.2011
Имя: Иван
Адрес: Новодвинск
Возраст: 52
Авто: TOYOTA COROLLA (E150) 2013
Сообщений: 915
Изображений: 1
Вес репутации: 81
Репутация: 1710
Re: Дневные ходовые огни (ДХО) на ШНиву своими руками

Цитата:
Сообщение от Roman Посмотреть сообщение

Ну а то что плавится плафон - дак габаритную тоже менять на светодиодную надо. Вне зависимости от того когда и как часто вы её используете.

....можно поподробнее.....для тех "валенков", кто со светодиодами не работал?
__________________


...в голове моей опилки - не беда......

Винипух вне форума   Профиль Винипух Послать Винипух личное сообщение Найти сообщения Винипух Ответить с цитированием
Старый 31.08.2011, 15:03   #10
SAN 296
Гуру
 
Аватар для SAN 296
 
Регистрация: 25.09.2010
Имя: Александр
Адрес: Архангельск
Возраст: 53
Авто: Шеви Нива 2006г.
Сообщений: 547
Изображений: 42
Вес репутации: 62
Репутация: 150
Re: Дневные ходовые огни (ДХО) на ШНиву своими руками

Цитата:
Сообщение от Винипух Посмотреть сообщение
можно поподробнее.

Снять габаритную лампу, за место неё вставить белую светодиодную.
SAN 296 вне форума   Профиль SAN 296 Послать SAN 296 личное сообщение Найти сообщения SAN 296 Ответить с цитированием
Ответ



Закладки


Здесь присутствуют: 1 (пользователей: 0 , гостей: 1)
 

Ваши права в разделе
Вы не можете создавать новые темы
Вы не можете отвечать в темах
Вы не можете прикреплять вложения
Вы не можете редактировать свои сообщения

BB коды Вкл.
Смайлы Вкл.
[IMG] код Вкл.
HTML код Выкл.

Быстрый переход

Похожие темы
Тема Автор Раздел Ответов Последнее сообщение
Бюджетный лифт ШНивы своими руками Windy Своими руками 374 15.01.2016 03:16
Клубная футболка своими руками! Neverhood Своими руками 26 27.12.2011 22:49
Шумоизоляция своими руками _Den_ Своими руками 55 11.06.2011 00:02
Прицеп - своими руками Olegich Своими руками 2 07.04.2010 20:00
Замена хайджеку своими руками Windy Своими руками 13 05.04.2010 22:10


Часовой пояс GMT +3, время: 07:31.


Powered by vBulletin® Version 3.8.1
Copyright ©2000 - 2025, Jelsoft Enterprises Ltd. Перевод: zCarot

Top.Mail.Ru Яндекс.Метрика International NIVA Club